|
 |
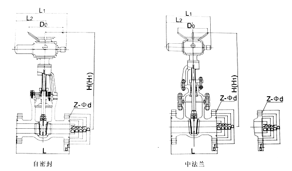
高压法兰连接电动钢制闸阀 |
|
 |
| 二、主要外形尺寸及连接尺寸 |
|
公称压力
(MPa) |
公称通径
DN(mm) |
主要外形尺寸及连接尺寸(mm) |
电动装
置型号 |
| L |
D |
D1 |
D2 |
D8 |
D6 |
b |
Z-φd |
H |
L1 |
L2 |
D0 |
| 10.0 |
40 |
240 |
165 |
125 |
95 |
75 |
76 |
26 |
4-23 |
680 |
590 |
371 |
365 |
DZW15A |
| 50 |
250 |
195 |
145 |
112 |
85 |
88 |
28 |
4-25 |
810 |
590 |
371 |
365 |
DZW20A |
| 65 |
280 |
220 |
170 |
138 |
110 |
110 |
32 |
8-25 |
860 |
590 |
371 |
365 |
DZW20A |
| 80 |
310 |
230 |
180 |
148 |
115 |
121 |
34 |
8-25 |
892 |
590 |
371 |
365 |
DZW30A |
| 100 |
350 |
265 |
210 |
172 |
145 |
150 |
38 |
8-30 |
1013 |
590 |
371 |
365 |
DZW45A |
| 125 |
400 |
310 |
250 |
210 |
175 |
176 |
42 |
8-34 |
1184 |
810 |
515 |
470 |
DZW60A |
| 150 |
450 |
350 |
290 |
250 |
205 |
204 |
46 |
12-34 |
1250 |
830 |
450 |
470 |
DZW90 |
| 200 |
550 |
430 |
360 |
312 |
265 |
260 |
54 |
12-41 |
1250 |
830 |
450 |
550 |
DZW120 |
| 250 |
650 |
500 |
430 |
382 |
320 |
343 |
60 |
12-41 |
1650 |
870 |
565 |
550 |
DZW180 |
| 300 |
750 |
585 |
500 |
442 |
375 |
364 |
70 |
16-48 |
7800 |
870 |
565 |
320 |
DZW250 |
| 350 |
850 |
655 |
560 |
498 |
420 |
422 |
76 |
16-54 |
2250 |
1170 |
770 |
320 |
DZW350 |
| 400 |
950 |
715 |
620 |
558 |
480 |
474 |
80 |
16-54 |
2050 |
1170 |
770 |
320 |
DZW500 |
| 16.0 |
40 |
260 |
175 |
125 |
92 |
75 |
76 |
32 |
4-27 |
670 |
590 |
371 |
365 |
DZW15A |
| 50 |
300 |
215 |
165 |
132 |
95 |
88 |
36 |
8-25 |
832 |
590 |
371 |
365 |
DZW20A |
| 65 |
340 |
245 |
190 |
152 |
110 |
110 |
44 |
8-30 |
880 |
590 |
371 |
365 |
DZW30A |
| 80 |
390 |
260 |
205 |
168 |
130 |
121 |
46 |
8-30 |
905 |
590 |
371 |
365 |
DZW30A |
| 100 |
450 |
300 |
240 |
200 |
160 |
150 |
48 |
8-34 |
1071 |
590 |
371 |
365 |
DZW45A |
| 125 |
525 |
355 |
285 |
238 |
190 |
176 |
60 |
8-41 |
1163 |
810 |
515 |
470 |
DZW90 |
| 150 |
600 |
390 |
318 |
270 |
205 |
204 |
66 |
12-41 |
1170 |
830 |
450 |
470 |
DZW90 |
| 200 |
750 |
480 |
400 |
345 |
275 |
260 |
78 |
12-48 |
1440 |
830 |
450 |
550 |
DZW120 |
| 250 |
838 |
580 |
485 |
425 |
330 |
313 |
88 |
12-54 |
- |
870 |
656 |
550 |
DZW180 |
| 300 |
965 |
665 |
570 |
510 |
380 |
364 |
100 |
16-54 |
- |
870 |
565 |
320 |
DZW250 |
|
20.0
25.0 |
50 |
350 |
210 |
160 |
128 |
95 |
70 |
40 |
8-25 |
713 |
590 |
371 |
365 |
DZW20A |
| 65 |
410 |
260 |
203 |
165 |
110 |
97 |
48 |
8-30 |
855 |
590 |
371 |
365 |
DZW30A |
| 80 |
470 |
290 |
230 |
190 |
160 |
116 |
54 |
8-34 |
1016 |
590 |
371 |
365 |
DZW45A |
| 100 |
550 |
360 |
292 |
245 |
190 |
138 |
66 |
8-41 |
1099 |
810 |
515 |
470 |
DZW60A |
| 125 |
650 |
385 |
318 |
270 |
205 |
170 |
76 |
12-41 |
1160 |
830 |
450 |
470 |
DZW90 |
| 150 |
750 |
440 |
360 |
302 |
240 |
190 |
82 |
12-48 |
1240 |
830 |
450 |
550 |
DZW120 |
| 200 |
832 |
535 |
440 |
380 |
305 |
245 |
92 |
12-54 |
- |
870 |
565 |
320 |
DZW180 |
| 250 |
991 |
670 |
572 |
508 |
380 |
319 |
110 |
16-58 |
- |
870 |
656 |
320 |
DZW250 | | |
|
|
|