设为首页 企业邮局 销售网络
 欢迎访问浙江中正阀门有限公司网站,主要产品有电站阀、闸阀、截止阀、止回阀、球阀、蝶阀、及非标阀门等几十个品种,敬请光顾!
 
    产品参数
    产品图片
 
 · 电站阀门系列
 
 
 · 通用阀门系列
 
 
 · 美标阀门系列
 
 

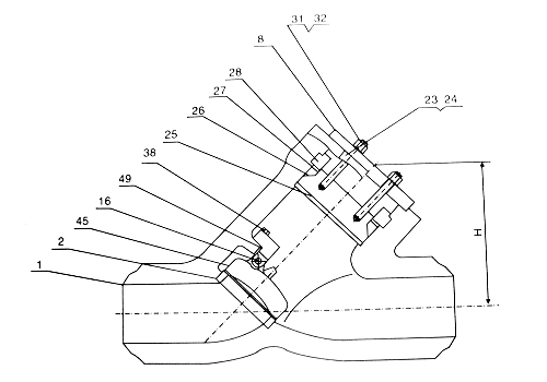
PYH64Y型止回阀

典型零件材料表
序号 零件名称 WCB WC6 WC9 CF8 CF3M CE3MN
1 阀体 A216 WCB A217 WC6 A127 WC9 A351 CF8 A351 CF3M CE3MN
8 阀盖 A216 WCB A216 WCB A216 WCB A351 CF8 A351 CF8 A351 CF8
23 铭牌 AISI 304 AISI 304 AISI 304 AISI 304 AISI 304 AISI 304
24 铆钉 AL AL AL AL AL AL
25 自密封座 A105 A182 F11 A182 F22 A182 F304 A182 F316L A182 F53
26 自密封垫 304丝+柔性石墨
27 自密封环 A182 F6a A182 F6a A182 F6a A182 F304 A182 F316L A182 F53
28 四开环 A182 F6a A182 F11 A182 F22 A182 F304 A182 F316L A182 F53
31 吊紧螺栓 A193 B7 A193 B7 A193 B7 A193 B8 A193 B8M A193 B8M
32 螺母 A194 2H A194 2H A194 2H A194 8 A194 8M A194 8M
45 阀瓣 A105 A182 F11 A182 F22 A182 F304 A182 F316L A182 F53
49 支架 A216 WCB A217 WC6 A217 WC9 A351 CF8 A351 CF3M CF3MN
 
CL900
规格(NPS) in 2 2.5 3 4 6 8 10 12 14 16 18 20
结构长度(mm) L 254 254 304 355 508 660 787 914 990 1092 1219 1320
L1 381 371 381 457 609 736 838 965 1028 1130 1219 1320
L2 384 384 384 460 612 739 841 968 1038 1140 1232 1333
中心高度(mm) H 190 190 190 190 241 304 381 419 457 501 596 660
重量(kg)Weld 20 20 20 23 59 109 213 326 408 589 834 1102
重量(kg)Flanged 50 50 50 68 159 276 473 662 907 1179 1665 2143
 
规格(NPS) in 8×6×8 10×8×10 12×10×12 14×12×14 16×14×16 18×16×18 20×18×20
结构长度(mm) L 609 736 838 965 1028 1130 1219
中心高度(mm) H 241 304 381 419 457 501 596
重量(kg) 63

113

219 335 421 612 857
 
CL1500
规格(NPS) in 2 2.5 3 4 6 8 10 12
结构长度(mm) L 254 254 304 406 558 711 863 900
L1 469 469 469 546 704 831 990 1130
L2 473 473 473 549 711 841 1000 1146
中心高度(mm) H 196 196 196 215 266 342 419 469
重量(kg)Weld 25 25 25 36 91 182 326 499
重量(kg)Flanged 68 68 68 99 235 424 725 1088
 
规格(NPS) in 8×6×8 10×8×10 12×10×12 14×12×14
结构长度(mm) L 705 831 990 1130
中心高度(mm) H 266 342 419 469
重量(kg) 99 195 340 517
 
CL2500
规格(NPS) in 2 2.5 3 4 6 8 10 12 14 16 18 20
结构长度(mm) L 330 330 368 457 610 762 914 1041 1117 1219 1346 1447
中心高度(mm) H 203 203 203 304 330 406 457 533 574 660 711 787
重量(kg)Weld 36 26 26 50 145 281 520 725 975 1247 1587 1927
重量(kg)Flanged 113 113 113 159 445 694 1429 2068 2227 2590 2864 3272
 
规格(NPS) in 8×6×8 10×8×10 12×10×12 14×12×14 16×14×16 18×16×18 20×18×20
结构长度(mm) L 711 863 1009 1041 1117 1244 1511
中心高度(mm) H 330 406 457 533 584 660 711
重量(kg) 154

290

544 752 1011 1292 1950
 
2006-2007 版权所有-浙江中正阀门有限公司Copyright©ZHEJIANG ZhongZheng VALVE CO.,LTD.All Right Reserved.
电话:0577-67375908 67375255 传真:0577-67973776 Email:china@zjzz-valve.com 浙ICP备09028919号