|
 |
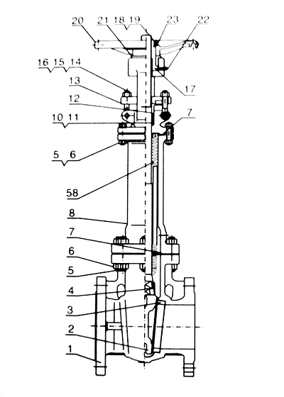
WZ40H型波纹管 |
| WZ40H型 |
 |
| 典型零件材料表 |
| 序号 |
零件名称 |
WCB |
CF8 |
CF3 |
CF3M |
CE3MN |
| 1 |
阀体 |
A216 WCB |
A351 CF8 |
A351 CF3 |
A351 CF3M |
CE3MN |
| 2 |
闸板 |
A216 WCB |
A351 CF8 |
A351 CF3 |
A351 CF3M |
CE3MN |
| 3 |
阀座 |
A105 |
A182 F304 |
A182 F304L |
A182 F316L |
F53 |
| 4 |
阀杠 |
A182 F6a |
A182 F304 |
A182 F304L |
A182 F316L |
F53 |
| 5 |
螺栓 |
A193 B7 |
A193 B8 |
A193 B8 |
A193 B8M |
A193 B8M |
| 6 |
螺母 |
A194 2H |
A194 8 |
A194A8 |
A194 8M |
A194 8M |
| 7 |
垫片 |
304+柔性石墨 |
304+柔性石墨 |
304+柔性石墨 |
304+柔性石墨 |
304+柔性石墨 |
| 8 |
阀盖 |
A216 WCB |
A351 CF8 |
A351 CF3 |
A351 CF3M |
A351 CF3MN |
| 10 |
填料 |
304+柔性石墨 |
304+柔性石墨 |
304+柔性石墨 |
304+柔性石墨 |
`304+柔性石墨` |
| 11 |
隔环 |
A182 F6a |
A182 F304 |
A182 F304L |
A182 F316 |
A53 |
| 12 |
填料压套 |
A182 F6a |
A182 F304 |
A182 F304L |
A182 F316 |
F53 |
| 13 |
填料压板 |
A216 WCB |
A351 CF8 |
A351 CF8 |
A351 CF8 |
A351 CF8 |
| 14 |
活结螺栓 |
A193 B7 |
A193 B8 |
A193 B8 |
A193 B8M |
A193 B8M |
| 15 |
螺母 |
A194 2H |
A194 8 |
A194 8 |
A194 8M |
A194 8M |
| 16 |
横销 |
1035 |
304 |
304 |
304 |
304 |
| 17 |
阀杠螺母 |
A439 type D2 |
A439 type D2 |
A439 type D2 |
A439 type D2 |
A439 type D2 |
| 18 |
缩紧螺母 |
1035 |
1035 |
1035 |
1035 |
1035 |
| 19 |
止定螺钉 |
1035 |
1035 |
1035 |
1035 |
1035 |
| 20 |
手轮 |
Ducerle L10m |
Ducerle L10m |
Ducerle L10m |
Ducerle L10m |
Ducerle L10m |
| 21 |
轴承压盖 |
1035 |
1035 |
1035 |
1035 |
1035 |
| 22 |
油杯 |
成品 |
成品 |
成品 |
成品 |
成品 |
| 23 |
铭牌 |
AL |
AL |
AL |
AL |
AL |
| 58 |
波纹管 |
F321 |
F321 |
F321 |
F316L |
F53 | |
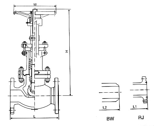
 |
| CL150 |
| 规格(NPS) |
in |
2 |
21/2 |
3 |
4 |
5 |
6 |
8 |
10 |
12 |
14 |
16 |
| 结构长度(mm) |
L |
203 |
216 |
241 |
292 |
356 |
406 |
495 |
622 |
698 |
787 |
914 |
| L1 |
216 |
229 |
254 |
305 |
369 |
419 |
508 |
635 |
711 |
800 |
927 |
| L2 |
203 |
216 |
241 |
292 |
356 |
406 |
495 |
622 |
698 |
787 |
914 |
| 中心高度(mm) |
H |
455 |
520 |
570 |
710 |
790 |
860 |
1250 |
1460 |
1540 |
1800 |
2100 |
| 手轮直径(mm) |
W |
220 |
250 |
280 |
320 |
320 |
400 |
450 |
560 |
560 |
- |
- | | |
|
CL300 |
| 规格(NPS) |
in |
2 |
21/2 |
3 |
4 |
5 |
6 |
8 |
10 |
12 |
14 |
16 |
| 结构长度(mm) |
L |
267 |
292 |
318 |
356 |
400 |
445 |
559 |
622 |
711 |
838 |
863 |
| L1 |
283 |
308 |
334 |
372 |
416 |
461 |
575 |
638 |
727 |
|
|
| L2 |
267 |
292 |
318 |
356 |
400 |
445 |
559 |
622 |
711 |
|
|
| 中心高度(mm) |
H |
500 |
550 |
620 |
790 |
860 |
950 |
1400 |
1500 |
1700 |
|
|
| 手轮直径(mm) |
W |
220 |
350 |
280 |
320 |
400 |
450 |
500 |
560 |
600 |
|
| | |
|
CL600 |
| 规格(NPS) |
in |
2 |
21/2 |
3 |
4 |
5 |
6 |
8 |
10 |
12 |
14 |
16 |
| 结构长度(mm) |
L |
292 |
330 |
356 |
432 |
508 |
559 |
660 |
787 |
838 |
|
|
| L1 |
295 |
333 |
359 |
435 |
511 |
562 |
663 |
790 |
841 |
|
|
| L2 |
292 |
330 |
356 |
432 |
508 |
559 |
660 |
787 |
838 |
|
|
| 中心高度(mm) |
H |
550 |
610 |
680 |
820 |
900 |
1050 |
1540 |
1620 |
1800 |
|
|
| 手轮直径(mm) |
W |
285 |
280 |
320 |
400 |
- |
560 |
600 |
650 |
760 |
|
| | | |
|
|
|